Структура | Цель и задание | Теория | Приложения | Литература

Лабораторная работа №1
ИЗУЧЕНИЕ УСТРОЙСТВА И ПРИНЦИПА ДЕЙСТВИЯ ДАТЧИКОВ ТЕМПЕРАТУРЫ

ЖИДКОСТНЫЕ СТЕКЛЯННЫЕ ТЕРМОМЕТРЫ РАСШИРЕНИЯ
ДИЛАТОМЕТРИЧЕСКИЕ И БИМЕТАЛЛИЧЕСКИЕ ТЕРМОДАТЧИКИ
МАНОМЕТРИЧЕСКИЕ ТЕРМОМЕТРЫ
ТЕРМОПРЕОБРАЗОВАТЕЛИ СОПРОТИВЛЕНИЯ
ТЕРМОЭЛЕКТРИЧЕСКИЕ ПРЕОБРАЗОВАТЕЛИ


 


Для измерения температуры используют различные приборы-термометры. Эти приборы обычно градуируются в градусах (°С) [3].

Для измерения температуры контактным методом применяют термометры:


Для измерения температуры бесконтактным методом используют пирометры:

По характеру получения информации различают пирометры для локального измерения температуры в данной точке объекта и для анализа температурных полей.
 


ЖИДКОСТНЫЕ СТЕКЛЯННЫЕ ТЕРМОМЕТРЫ РАСШИРЕНИЯ

Измерение температуры жидкостными стеклянным и термометрами основано на различии коэффициентов объемного расширения жидкости и стеклянной оболочки термометра. Пределы измерения жидкостных стеклянных термометров - от —120 до +650°С. Для наполнения термометров используют различные термометрические жидкости: ртуть, спирт этиловый, керосин, петролейный эфир, пентан.

По конструктивному исполнению жидкостные стеклянные термометры выпускаются трех типов [3]:

1. Термометры палочные (тип А). У этого типа термометров толстостенный массивный капилляр переходит в резервуар, который изготовлен из стекла капилляра или припаян к нему в виде заготовки заданной конфигурации. Деления шкалы нанесены на наружной поверхности капиллярной. трубки. Такую конструкцию имеют большинстве образцовых термометров.

2. Термометры со шкалой, вложенной внутрь стеклянной оболочки (тип Б). У этого типа термометров капилляр впаян в оболочку, из стекла которой сформирован чувствительный элемент — резервуар. Шкала изготовлена из стекла молочного цвета, из алюминия или бумаги. Такие термометры получили наибольшее распространение.

3. Термометры с наружной шкальной пластиной (тип В). Этот тип термометров изготовлен в виде капиллярной трубки, прикрепленной к шкальной пластине или оправе, на которых нанесена шкала. Такие термометры применяют в основном для измерения температуры воздуха в производственных и бытовых помещениях.

По способу получения информации об изменении температуры термометры подразделяются на контрольные (предназначены для визуального отсчета показаний) и контактные (предназначены для замыкания или размыкания цепей электрического тока с целью поддержания постоянной температуры или сигнализации о достижении температурой заданного значения).
Контактные термометры (электротерморегуляторы) изготавливают как с заданной температурой контактирования, так и с магнитной регулировкой положения контакта, обеспечивающего сигнализацию или поддержание температуры в любой точке предела измерения термометра.
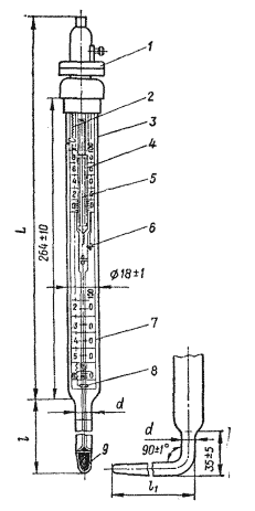
Некоторые типы жидкостных стеклянных термометров расширения показаны на рисунках 1.1 -1.2.
Помимо термометров специального назначения для контроля температуры влажностно-тепловых процессов используют термометры промышленные, лабораторные и метеорологические.
Некоторые из этих термометров (ТС-11, ТМ-4, ТМ-6) применяют для измерения влажности воздуха психрометрическим методом.  Подробнее о конструкции термометров
Все контактные термометры и термоконтакторы заполняются ртутью.
Поверка термометров перед установкой

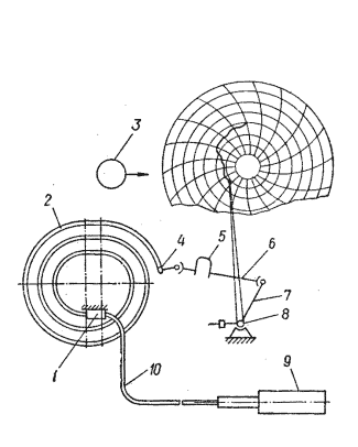
Рис.1.1. Термоконтактор с подвижным контактом:
1 — постоянный магнит;
2 — медный провод;
3 — оболочка;
4 — верхняя шкала;
5 — микровинт;
6 — подвижный контакт;
7 — нижняя шкала;
8 — неподвижный контакт;
9 — резервуар;
l — длина нижней частя;
L — длина верхней части;
l1 — длина изогнутой части;
d — диаметр нижней части.
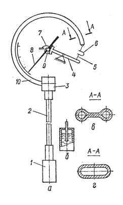
Рис.1.2. Термоконтактор с заданным контактом:
1 — зажим;
2 — оболочка;
3 — шкала;
4, 5 — контакты;
6 — капилляр;
7 — резервуар;
l — длина нижней части;
L — длина верхней части;
l1 — длина изогнутой части;
d — диаметр нижней части.

ДИЛАТОМЕТРИЧЕСКИЕ И БИМЕТАЛЛИЧЕСКИЕ ТЕРМОДАТЧИКИ

Дилатометрические и биметаллические термодатчики предназначены для сигнализации и регулирования температуры воздуха, а также для контроля жидких и газообразных сред (воды, воздуха и т.д.) [3].
Датчики-реле являются не показывающими приборами, а имеют шкалу задания температуры срабатывания контактов.
Чувствительный элемент дилатометрических термодатчиков состоит из трубки, изготовленной из металла с большим коэффициентом температурного линейного расширения (латунь, алюминий и др.), и находящегося внутри трубки стержня из металла с малым коэффициентом температурного расширения (например, из инвара). Трубку прибора погружают полностью в контролируемую среду. При изменении температуры среды изменяется длина трубки; связанный с ней стержень перемещается, в результате чего замыкаются (размыкаются) контакты или перемещается чувствительный элемент преобразователя (рис.1.3).
В качестве чувствительного элемента в биметаллических преобразователях используется пластинка или спираль, состоящая из двух сваренных по всей длине металлических пластин с разными коэффи-
циентами температурного линейного расширения (например, из меди и инвара). При изменении температуры среды биметаллическая пластинка (спираль) изгибается, перемещая чувствительный элемент преобразователя или переключая контакты (рис.1.4).
Различают термодатчики двухпозиционные типа ДТКБ (биметаллические) и типа ТУДЭ (дилатометрические), а также трехпозиционные типа ТБ-ЭЗК (биметаллические).
Подробнее о сферах применения различных типов термодатчиков.
 
 

Рис.1.3. Схема устройства чувствительного элемента дилатометрического преобразователя температуры:
1- трубка из металла с большим коэффициентом температурного расширения;
2 - стержень из металла с малым коэффициентом температурного расширения.
Рис.1.4. Схема устроила чувствительного элемента биметаллического преобразователя температуры:
1, 2 — полосы из металлов с разными коэффициентами температурного линейного расширения;
3—держатель подвижного контакта.

Установка и обслуживание дилатометрических и биметаллических термодатчиков
 
 

МАНОМЕТРИЧЕСКИЕ ТЕРМОМЕТРЫ

Принцип действия, классификация и устройство
Принцип действия измерителей температуры, называемых манометрическими термометрами, основан на использовании однозначной зависимости между температурой и давлением термометрического вещества, находящегося в герметично замкнутой манометрической термосистеме. Манометрическая термосистема состоит из термобаллона, соединительной трубки (дистанционного капилляра) и упругого чувствительного элемента, которые совместно образуют герметический объем, занятый наполнителем — термометрическим (рабочим) веществом [2].
В зависимости от рода рабочего вещества и его агрегатного (фазового) состояния манометрические термометры подразделяют на три класса: газовые (Г), жидкостные (Ж) и конденсационные или парожидкостные (К).
Манометрические термометры выпускают в различных вариантах исполнения: в виде показывающих, самопишущих приборов без или со встроенными устройствами сигнализации или регулирования температуры. Общие требования, которым должны удовлетворять манометрические термометры, определены ГОСТ 8624—80.
Схема конструктивного оформления показывающего манометрического термометра приведена на рис.1.5, а. Манометрическая термосистема термометра состоит из термобаллона, капилляра и манометрической пружины. Температура термобаллона, погруженного в исследуемую среду, функционально преобразуется в давление рабочего вещества манометрической системы. Соединительный капилляр передает изменение давления на манометрическую пружину. Держатель соединяет внутреннюю полость закрепленного конца пружины с капилляром. Свободный герметизированный конец пружины шарнирно связан поводком с зубчатым сектором, который находится в зацеплении с трубкой. На оси трубки насажена стрелка — указатель. Зазор в передаточном механизме выбирается спиральной пружинкой.
Термобаллон имеет цилиндрическую форму; его диаметр и длина зависят от рода термометрического вещества и диапазона измеряемых температур. Термобаллон обычно выполняют из стали 1Х18Н9Т.
Манометрическая пружина имеет сечение овальной формы (рис.1.5, е) или в виде восьмерки (рис.1.6, в). Профиль, сечения пружины последнего вида обладает рядом преимуществ.
Подробнее о конструкции манометрических термометров
При изменении температуры термобаллона изменяется давление внутри манометрической системы, происходит деформация (раскрутка или закрутка) пружины. Свободное перемещение конца пружины с помощью передаточного механизма (звеньев 5—7) преобразуется во вращение стрелки — указателя относительно отметок оцифрованной в градусах Цельсия шкалы. Вариация температуры среды, в которой находится пружина, т.е. отклонение температуры пружины от её нормального значения 20°С, компенсируется с помощью термобиметаллического компенсатора (см. рис.1.5, в).
В самопишущих манометрических термометрах (рис.1.6) давление в термосистеме, однозначно связанное с температурой термобаллона и передаваемое капилляром, преобразуется в деформацию спиральной пружины.
Один конец пружины закреплен в держателе, а свободный конец шарнирно связан посредством скобы, поводка, термобиметаллического компенсатора с рычагом, который жестко соединен с поворотным рычагом. Перо для записи показаний расположено на конце рычага. Запись показаний производится на дисковой бумажной диаграмме, которая приводится во вращение (чаще со скоростью одного оборота в сутки) с помощью часового механизма или электрического синхронного микродвигателя. Имеются модификации манометрических термометров, записывающие показания от двух отдельных термосистем.
Более подробные сведения об устройстве, работе, монтаже и поверке манометрических термометров приведены в соответствующих технических инструкциях.

Температурные диапазоны работы манометрических термометров
Манометрические термометры применяются для измерения, записи и регулирований температуры газов, паров и жидкостей в диапазоне от —150 до 1000С.
Подробнее о классах точности и интервалах работы манометрических термометров
 

Рис. 1.5. Схема устройства показывающего манометрического термометра:
a—термосистема;
б — термобаллон;
в, г—профили сечения пружины;
1—термобаллон;
2 — капилляр;
3 — держатель;
4 — сектор;
5 — поводок;
6 — компенсатор;
7 — спиральный волосок;
8 — указательная стрелка;
9 — трубка;
10 — манометрическая пружина.
Рис. 1.6. Схема устройства самопишущего термометра:
1 — держатель;
2 — спиральная манометрическая пружина;
3 — двигатель;
4 — скоба;
5 — компенсатор;
6 — поводок;
7 — рычаг;
8 — ось рычага;
9 — термобаллон;
10 — капилляр.

Характеристики промышленных манометрических термометров

Погрешности манометрических термометров и способы их уменьшения
 


ТЕРМОПРЕОБРАЗОВАТЕЛИ СОПРОТИВЛЕНИЯ

Терморезистором называется измерительный преобразователь, активное сопротивление которого изменяется при изменении температуры. В качестве терморезистора может использоваться металлический или полупроводниковый резистор. Датчики температуры с терморезисторами называются термометрами сопротивления [1].
Имеются два вида терморезисторов: металлические и полупроводниковые.

Действие ТС (термопреобразователь сопротивления) основано на температурной зависимости сопротивлений. Указанным свойством обладает множество материалов, но лишь немногие из них удовлетворяют вторичным эксплуатационным требованиям, связанным со стабильностью свойств и нечувствительностью к внешним воздействиям по другим физическим параметрам (давление, плотность магнитного потока, потока нейтронов и т.п.). Всему комплексу метрологических и эксплуатационных требований удовлетворяет относительно узкая номенклатура материалов, предоставленных разными видами веществ, заметно способных проводить электрический ток: металлами, полупроводниками, электролитами.
ТС обладают хорошими термометрическими свойствами. Типичные виды зависимости сопротивления от температуры представлены на рис.1.7. Как видно из рисунка, ТКС (температурный коэффициент сопротивления) сравнительно невелик (0,3...0,6 %•К-1) и, как правило, положителен для металлов (кривая 2). Для полупроводников ? в среднем на порядок больше, чем для металлов, отрицателен для термисторов (кривая 4) и положителен для позисторов (кривая 1). Электролиты (кривая 3) характеризуются ступенчатым переходом сопротивления при температуре начала ионной проводимости.
 
 

Рис.1.7. Зависимость сопротивления различных ТС от температуры:
1 — позисторы;
2 — металлы;
3 — электролиты;
4 — термисторы.
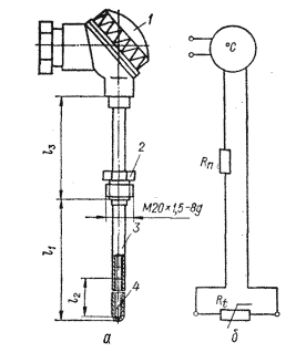
Рис.1.8. ТС (а) и схема его включения (б):
1 - головка:
2 — штуцерная гайка;
3 — арматура;
4 — чувствительный элемент.

Принцип действия и конструкция металлических терморезисторов.
Как известно, сопротивление металлов увеличивается с увеличением температуры. Для изготовления металлических терморезисторов обычно применяются медь или платина.
Подробнее о принципе действия и конструкции металлических терморезисторов.
ТС состоит из чувствительного элемента соответствующей конструкции, защитной арматуры и соединительных проводов (рис.1.8). Изменение сопротивления чувствительного элемента в виде падения напряжения или тока, передаваемых электрической линией связи непосредственно или при помощи ИПТ, фиксируется показывающим прибором или регулятором. Способ включения ТС определяется схемой вторичного прибора и диапазоном измеряемой температуры.  Подробнее о чувствительном элементе
Номинальные функции преобразования (статические характеристики) медных и платиновых терморезисторов и их погрешность определяются ГОСТ 6651 -84.
Требования к платиновым ТС
Уравнения зависимости сопротивления от температуры
В зависимости от условий применения, требовании, предъявляемых к точности измерения, промышленностью выпускаются платиновые ТС различных конструкций. Такое разнообразие конструкций объясняется тем, что все требования, предъявляемые различными объектами измерения, не могут быть обеспечены одной и той же конструкцией.
Конструкции чувствительных элементов

Основные параметры технических платиновых ТС по ГОСТ 6651—78 приведены в табл. 1.1.
 

Таблица 1.1.
 Основные параметры платиновых и медных ТС.
Тип
Номинальное сопротивление при  0°C, 
Ом
Условное обозначение номинальной статической характеристики 
преобразования
Диапазон измеряемой температуры, °С
от
до
ТСП 1
5
10
46
50
100
500


10П
гр.21
50П
100П
500П
—50
—100
—200
—260
—260
—260
—260
1100
1100
1000
1000
1000
1000
300
ТСМ 10
50
53
100
10М
50М
гр.23
100М
—50
—50
—50
—200
—200
—200
180
200

ТС для исследовательских работ

ТС с чувствительными элементами из других материалов
В случаях, когда не требуется высокая точность измерения, например для технических целей, чувствительные элементы ТС изготовляются не из дорогой платины, а из других чистых металлов. Для измерения сверхнизких температур чувствительные элементы изготовляются главным образом из сплавов и полупроводников. Для измерения средних температур в качестве материала чувствительного элемента ТС применяются, наряду с платиной, медь, никель, вольфрам, железо [2].
Требования к конструкциям ТС с чувствительными элементами из других материалов аналогичны требованиям, предъявляемым к платиновым чувствительным элементам. При этом необходимо учитывать конкретные физические и химические свойства этих материалов.

Медные ТС
ТС из других чистых металлов
Схемы включения металлических терморезисторов

Учитывая опыт эксплуатации выпускаемых ТС представляется возможным разделить технические ТС на следующие укрупненные группы:

Основные требования, предъявляемые к техническим ТС: взаимозаменяемость, простота и надежность в работе.

Несущая и защитная арматура ТС
 


ПОЛУПРОВОДНИКОВЫЕ ТС

Целесообразно разделить полупроводники, используемые при измерении низких температур, на материалы, обладающие отрицательным ТКС - термисторы; материалы, обладающие положительным ТКС - позисторы. Все полупроводниковые ТС имеют сравнительно небольшой срок применения, поэтому они не вошли в номенклатуру приборов, используемых в метрологии.
Чувствительный элемент полупроводникорого терморезистора — термистора — изготавливается из окислов различных металлов: меди, кобальта, магния, марганца и др. Размолотое в мелкий порошок компоненты прессуются и спекаются в виде столбика, шарика или шайбы. В надлежащих местах напыляются электроды и подпаиваются выводы из медной проволоки. Для предохранения от атмосферных воздействий чувствительный элемент термистора покрывают защитной краской, помещают в герметизирующий металлический корпус или запаивают в стекло.
С увеличением температуры сопротивление термисторов уменьшается. 
Термисторы изготавливаются с номинальным сопротивлением (при 20°С) от 1 до 200 кОм. В зависимости от типа они могут применяться для измерения температур от —100 до 120-600°С. Их чувствительность в 6—10 раз больше, чем чувствительность металлического терморезистора. Кроме того, термисторы имеют значительно меньшие массы и размеры. 

Недостатком термисторов является нелинейность функции преобразования, большой разброс их параметров, а также старение и некоторая нестабильность характеристик. 

Термисторы обычно включаются в схему неравновесного или автоматического моста. Приборы имеют индивидуальную градуировку, что обусловлено большим разбросом параметров и характеристик преобразователей. 

Термисторы применяются для измерения температуры в тех случаях, когда не требуется высокая точность, но нужно измерить температуру малых объектов, обладающих малой теплоемкостью.

Терморезисторные характеристики полупроводников значительно различаются между собой. Поэтому обобщение их в одном структурном подразделении носит условный характер. Для всех полупроводников характерна высокая чувствительность. ТКС большинства терморезисторных полупроводников на порядок, а для некоторых материалов в экстремальных условиях — на два порядка больше соответствующего среднего значения для металлов. 

Термисторные промышленные ТС. Благодаря высокой чувствительности термисторные ТС эффективно применяются для измерения температур в диапазоне от 170 до 570 К. 
ТС для контроля и регулирования температуры
Уравнения зависимости сопротивления от температуры

Позисторные промышленные ТС. Позисторы также относятся к полупроводниковым ТС, но в отличие от термисторов имеют положительный термический ТКС. Чувствительные элементы позисторных ТС изготовляются из сегнетоэлектрических керамик на основе титанатов, цирконатов, глицинатов и т. п., свинца, бария, мышьяка и др. Их ТКС может превышать 10 %/К. Они применяются в сравнительно узком диапазоне температур (от 20 до 100°С), причем для каждого типа позистора диапазон измерения еще уже и составляет несколько К. Пока позисторные ТС находят ограниченное применение в системах автоматики и защиты. Превосходные характеристики по мере развития технологии производства должны открыть им широкое применение.
Конструктивное оформление позисторных ТС аналогично таковому в термисторах. В диапазоне измеряемой температуры температурная зависимость сопротивления позисторов носит экспоненциальный характер: R=Аеam.

Поверка ТС

ТЕРМОЭЛЕКТРИЧЕСКИЕ ПРЕОБРАЗОВАТЕЛИ

Термоэлектрические явления. Термопары
Действие термоэлектрических преобразователей ТП основано на эффекте Зеебека — одном из 12 термоэлектрических явлений, известных в современной физике твердого тела. 
Принцип действия и конструкция.
Термоэлектрический преобразователь представляет собой термопару, состоящую из двух разнородных проводников Р и Q, соединенных между собой в двух точках, как схематически показано на рис.V.1,а. На границе раздела двух различных металлов имеется контактная разность потенциалов ЕPQ(t), зависящая от рода металлов и от температуры контакта. В цепи, показанной на рис.1.9.а, контактные разности потенциалов образуются в точках 1 и 2. Если t1 = t2, то они равны между собой и, будучи противоположно направленными, взаимно уравновешиваются. Если же t1 ? t2, то в цепи развивается результирующая ЭДС:

Е= EPQ(t1) - EPQ(t2)                        (1)

называемая термоэлектродвижущей силой (термоЭДС). Места контактов называются спаями термопары.
Из (1) следуют следующие свойства термопары.
1. Если в цепи термопары включен третий проводник (проводник R на рис.1.9,б) и его концы находятся при одинаковых температурах (t'2=t''2 ), то включение этого третьего проводника не изменяет ЭДС цепи. Третьим проводником могут быть провода прибора, измеряющего ЭДС термопары, и провода, соединяющие его с термопарой. Если концы термопары, подключенные к соединительным проводам, находятся при одинаковых температурах, то подключение измерительного прибора не изменяет термоЭДС.
2. ЭДС термопары является функцией двух независимых температур — температур ее спаев Е = E(t1, t2) — и не зависит от температур других точек термопары. ЭДС термопары (V.2) есть сумма функций одной переменной.
3. Если термопара имеет температуры спаев t и to, то термоЭДС равна алгебраической сумме двух ЭДС, одна из которых генерируется при температуре спаев t и t'o, другая — при температурах t'o и to (рис.V1.10):

E(t, to) = E(t, t'o) + E(t'o; to).                    (2)

Это свойство используется при измерении температуры спая t, если температура второго спая t'o отличается от температуры t0, при которой была произведена градуировка термопары.
При to = 0 функция E(t, 0) представляет собой градуировочную функцию преобразования данной термопары. Значение E(t, t'o) определяется экспериментально, а значение E(t'o, 0) — по значению температуры t'o и градуировочной функции преобразования. По значениям E(t, t'o) и E(t'o, 0) вычисляется E(to, 0), по которой определяется измеряемая температура.
Термоэлектрические преобразователи используются для измерительного преобразования температуры в ЭДС. Термоэлектрический датчик обычно называется термопарой.
В табл.1.2 приведены наиболее широко используемые термопары (ГОСТ 6616-84) и их основные характеристики (ГОСТ 3044-84).
 

Рис.

Градуировочные характеристики и допустимые погрешности этих термопар также приведены в ГОСТ 3044-84.
Устройство промышленной термопары показано на рис.1.11. Термоэлектроды 1 изолируются друг от друга керамическими бусами 2 или керамической трубкой; одним своим концом они свариваются, другим — подсоединяются к зажимам в головке 3, служащей для подключения внешних проводов. Термоэлектроды помещаются в защитный чехол 4 (трубку, закрытую с одной стороны). Чехол делается из жаропрочной стали, а при измерении очень больших температур — из керамики или кварца.
 

Рис.

Место соединения термоэлектродов называется горячим или рабочим спаем. Противоположные концы называются холодньши или свободными. Обычно в месте свободного спая термопара разомкнута. ЭДС термопары обычно не превосходит 50 мВ [2].

Технические возможности ПТ
Основные правила обращения с термоэлектрическими цепями
Погрешность термоэлектрического термометра
Внесение поправки в показания автоматического потенциометра
 

Таблица 1.2.
Тип термопары
Материал термоэлектродов
Обозначение градуировки
Диапазон измерения при длительном измерении, °С
ТХК Хромель - копель XK(L) -200 ... +600
ТХА Хромель - алюмель ХА(К) -200 ... +1000
ТПП Платинородий (10%) - платина ПП(5) 0 ... +1300
ТВР Вольфрамрений (5%) - вольфрамрений (20%) ВР(А)-1 0 ... +2200

 
Таблица 1.3.
Градуировочные характеристики некоторых термопар
t,°C
градуировка
0 20 40 50 60 80 100 200 300
ХК 0 1,31 2,66 3.35 4,05 5,48 6,95 14,66 22,91
ХА 0 0,80 1,61 2,02 2,43 3,26 4,10 8,13 12,21
ПП - 1 0 0,112 0,234 0,299 0,368 0.500 0,643 1,436 2,314

**
*
Схемы включения. Рабочий конец термопары погружается в среду, температуру которой требуется измерить. Свободные концы подключаются к вторичному прибору. Если температура свободных концов постоянна, то подключение может быть сделано медным проводом, а если не постоянна, то оно выполняется специальными удлинительными (компенсационными) проводами. В качестве последних используются два провода из различных материалов. Провода подбираются так, чтобы при температуре свободных спаев и в паре между собой они имели такие же термоэлектрические свойства, как и рабочая термопара. При подсоединении к термопаре компенсационные провода удлиняют ее и дают возможность отвести холодный спай образованной составной термопары в такое место, где температура остается постоянной.
*
Термопары для измерения низких температур
Характерной особенностью термоэлектрического метода измерения низких температур является то, что с убыванием температуры ухудшаются условия генерирования термоЭДС. При переходе в состояние сверхпроводимости термоэлектрический эффект Зеебека, на котором основано действие ПТ, очевидно, полностью исчезает.
*
Термопары для измерения средних температур
Термопара хромель—алюмель (ТХА) обладает наиболее близкой к прямой термоэлектрической характеристикой. Термоэлектроды изготовлены из сплавов на никелевой основе. Хромель (НХ9,5) содержит 9...10 %Сг; 0,6...1,2 % Со; алюмель (НМцАК) — 1,6...2.4 % Al, 0.85...1,5 Si, 1,8...2,7 % Mn. 0.6...1.2 % Со. Алюмель светлее и слабо притягивается магнитом; этим он отличается от более темного в отожженном состоянии совершенно немагнитного хромеля.
Благодаря высокому содержанию никеля хромель и алюмель лучше других неблагородных металлов по стойкости к окислению. Учитывая почти линейную зависимость термоЭДС термопары хромель — алюмель от температуры в диапазоне 0...1000°С, ее часто применяют в терморегуляторах.
*
*
Термопара хромель — копель (ТХК) обладает большей термоЭДС, чем ТХА, но уступает по жаростойкости и линейности характеристики. Копель (МНМц 43—0,5) — серебристо-белый сплав на медной основе, содержит 42,5—44,0% (Ni+Со), 0,1—1,0 % Mn. Даже в сухой атмосфере при комнатной температуре на его поверхности быстро образуется окисная пленка, в дальнейшем удовлетворительно предохраняющая сплав от дальнейшего окисления.
*
*
Термопары для измерения высоких температур
Измерение высоких температур связано с трудностями, обусловленными большими скоростями процессов диффузии, окисления, изменения кристаллической структуры и т. п. Поэтому только платина и ее сплавы с металлами платиновой группы пригодны для длительной эксплуатации в окислительных средах. При этом платина проявляет склонность к выделению из сплавов в виде летучей окиси, которая в определенных условиях восстанавливается до платины. При длительной эксплуатации восстановленная платина образует нитевидные кристаллы, которые могут шунтировать электроды термопары, снижая ее показания. Для инертной среды и вакуума применяются различные тугоплавкие металлы и их сплавы.
*
Термопара платинородий — платина.
Термопара платинородий — платина надежна и при работе в вакууме, но менее стабильна в нейтральных средах. Не рекомендуется применять ее в восстановительных средах.
*
Наиболее широко распространена термопара с термоэлектродами из сплава платины с 10 % родия относительно электрода из чистой платины. В определении МПТШ-68 она указана как один из интерполяционных приборов и почти всегда используется как стандартная термопара для установления номинальных статических характеристик методом сравнения. Она может применяться для непрерывных измерений на воздухе или в вакууме при температурах до 1400 °С; при нормируемом изменении номинальных статических характеристик — до 1600°С, для кратковременных измерений — до 1750°С. Ниже 500°С дифференциальная термоЭДС становится сравнительно малой, но вследствие исключительной стабильности тем не менее применяется для измерений низких температур. ТермоЭДС термопары медленно убывает со временем из-за уменьшения содержания родия в платино-родиевом термоэлектроде и появления следов родия в платиновом термоэлектроде. На рис.1.12 показана зависимость термоЭДС от содержания родия в платинородиевых сплавах.
*
 

Рис.1.12. Зависимость от температуры термоЭДС (а) и чувствительности (б) термопар на основе сплавов платины с родием:
1 — ПР1/0;
2 — ПР6/0;
3 — ПР10/0;
4 — ПР13/0;
5 — ПР30/0;
6 — ПР100/0;
7 — Pt 20Rhl0W/Pt;
8 — ПР30/6;
9 — ПР13/1.

*
Термопары из тугоплавких металлов и их сплавов. К этой группе относятся термопары, диапазон рабочих температур которых простирается за верхний предел применимости описанных выше термопар— 2200°С. Наиболее пригодными тугоплавкими металлами являются вольфрам, молибден, рений, тантал, ниобий н их сплавы. Тантал и ниобий имеют низкую стабильность термоЭДС, что связано с большой склонностью их к поглощению газов. Поэтому они применяются только для измерений в вакууме.
*
*
*
**
*
**
**
 


© ТГТУ, 2001  © Беляев П.С., Гладких В.А.  © О.В.Ефремов, веб-дизайн, 2001