ТС для исследовательских работ характеризуются повышенной чувствительностью
к изменению температуры, воспроизводимостью, стабильностью и удобством
при эксплуатации. Эти свойства в известной степени зависят от сопротивления
чувствительного элемента, определяющей величиной которого является сопротивление
при 0°С. По этому признаку ТС делятся на низкоомные и высокоомные. Увеличение
сопротивления чувствительного элемента при 0°С приводит к увеличению его
размеров и инерционности, упрощая, однако, работу с ТС, так как появляется
возможность применения более простых измерительных схем. Эталонные и образцовые
платиновые ТС, работающие в диапазоне температур от —182,97 до 630°С, изготовляются
с R0 = 10 Ом.
|
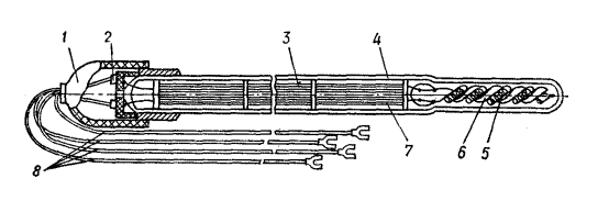
Рис. 2.3. Платиновый ТС конструкции Стрелкова:
1—алюминиевый колпачок;
2—клеммы;
3 — токовые провода;
4 — кварцевая оболочка;
5 — измерительная спираль;
6 — каркас;
7 — потенциальные выводы;
8 — подводящие провода. |
Для точных измерений температуры применяется конструкция с чувствительным
элементом в виде спирали Стрелкова (рис.2.3). Для измерения средних температур
(от 0 до 6300С) применяется платиновый ТС (ПТС-10) с R0 ~ 10 Ом; для измерения
низких температур (от —182,97 до 0°С) — с R0 ~ 100 Ом; для измерения сверхнизких
температур (от 13,81 до 273,15 К)—с 250м ? R0 ? 1000 0м при температуре
тройной точки (ТСПН-1 и ТСПН-2, ГОСТ 12377-67) [2].